Oryginalne 3cie swiatlo stopu

Forum dla spraw zwiazanych z problemami/dyskusjami na temat nadwozia, wnetrza oraz modyfikacja wewnatrz samochodu
Awatar użytkownika
Para
Peugeot 205 Master
Posty: 10182
Rejestracja: 30 cze pn, 2003 6:31 pm
Posiadany PUG: najlepszy
Numer Gadu-gadu: 1559591
Lokalizacja: Baile Átha Cliath
Kontakt:

Oryginalne 3cie swiatlo stopu

Post autor: Para »

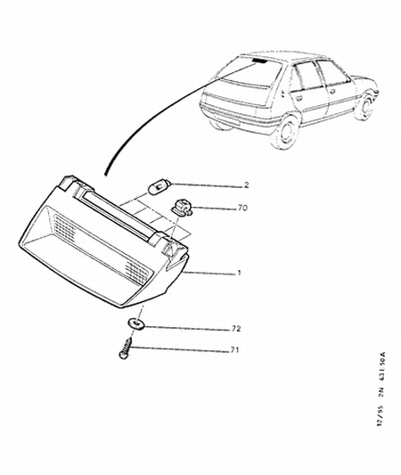
Przeszukujac srubki w katalogu Puga natrafilem na cos takiego :shock:

Ktos ma takie cudenko ??
Załączniki
2n63e50a.jpg
Peugeot 205 GTI S16 - Galeria
Peugeot 205 GTI GTI6 2.0 - Galeria
Megane Coupe 1.4
Obrazek
NIE PYTAJ CO KLUB MOŻE ZROBIĆ DLA CIEBIE, TYLKO CO TY MOŻESZ ZROBIĆ DLA KLUBU
Awatar użytkownika
moralez
Peugeot 205 Master
Posty: 4915
Rejestracja: 30 sie wt, 2005 3:42 pm
Posiadany PUG: 205......T8, 205 GTI 1.6
Numer Gadu-gadu: 2955602
Lokalizacja: Włocławek
Kontakt:

Re: Oryginalne 3cie swiatlo stopu

Post autor: moralez »

bylo na sprzedarz na forum jakis czas temu, chyba kupil je zlotycbr 8)
Awatar użytkownika
stef
Uzalezniony
Posty: 995
Rejestracja: 18 gru sob, 2004 5:50 pm
Posiadany PUG: 205mi16
Numer Gadu-gadu: 4896812
Lokalizacja: okolice Lublina
Kontakt:

Re: Oryginalne 3cie swiatlo stopu

Post autor: stef »

nom, mialem takie :D
Obrazek
Awatar użytkownika
Para
Peugeot 205 Master
Posty: 10182
Rejestracja: 30 cze pn, 2003 6:31 pm
Posiadany PUG: najlepszy
Numer Gadu-gadu: 1559591
Lokalizacja: Baile Átha Cliath
Kontakt:

Re: Oryginalne 3cie swiatlo stopu

Post autor: Para »

Podobno tylko niektore wersje maja mocowanie na to swiatelko
Peugeot 205 GTI S16 - Galeria
Peugeot 205 GTI GTI6 2.0 - Galeria
Megane Coupe 1.4
Obrazek
NIE PYTAJ CO KLUB MOŻE ZROBIĆ DLA CIEBIE, TYLKO CO TY MOŻESZ ZROBIĆ DLA KLUBU
Awatar użytkownika
arkol
Nowicjusz
Posty: 17
Rejestracja: 18 paź wt, 2005 9:03 pm
Posiadany PUG: 1.6 GTI x2
Numer Gadu-gadu: 128937
Lokalizacja: Kraków

Re: Oryginalne 3cie swiatlo stopu

Post autor: arkol »

Foto Galeria części do sprzedania: http://picasaweb.google.com/arkolrally/ ... tU_bRcLZPw

More Power - More Speed
More Speed - More Fun
Awatar użytkownika
Para
Peugeot 205 Master
Posty: 10182
Rejestracja: 30 cze pn, 2003 6:31 pm
Posiadany PUG: najlepszy
Numer Gadu-gadu: 1559591
Lokalizacja: Baile Átha Cliath
Kontakt:

Re: Oryginalne 3cie swiatlo stopu

Post autor: Para »

Arkol to nie jest oryginalne
Peugeot 205 GTI S16 - Galeria
Peugeot 205 GTI GTI6 2.0 - Galeria
Megane Coupe 1.4
Obrazek
NIE PYTAJ CO KLUB MOŻE ZROBIĆ DLA CIEBIE, TYLKO CO TY MOŻESZ ZROBIĆ DLA KLUBU
Awatar użytkownika
Haku
Uzalezniony
Posty: 508
Rejestracja: 02 cze czw, 2005 1:36 am
Posiadany PUG: 205 Forever GTI-6
Numer Gadu-gadu: 5369054
Lokalizacja: Warszawa
Kontakt:

Re: Oryginalne 3cie swiatlo stopu

Post autor: Haku »

Ja mam u siebie takie światło - jak bede w warsztacie to cykne fote
Peugeot 205 Forever GTI-6 / 170,5KM 198,9Nm
Awatar użytkownika
DJPreZes
Moderator
Posty: 4593
Rejestracja: 01 sie ndz, 2004 6:40 pm
Posiadany PUG: Roland Garros/307
Numer Gadu-gadu: 2516096
Lokalizacja: Gdynia

Re: Oryginalne 3cie swiatlo stopu

Post autor: DJPreZes »

No ja mam oryginalne, jeszcze nie zalozone.
Peugeot 205 Roland Garros Cabrio
Obrazek
Awatar użytkownika
Para
Peugeot 205 Master
Posty: 10182
Rejestracja: 30 cze pn, 2003 6:31 pm
Posiadany PUG: najlepszy
Numer Gadu-gadu: 1559591
Lokalizacja: Baile Átha Cliath
Kontakt:

Re: Oryginalne 3cie swiatlo stopu

Post autor: Para »

No i gdzie ta fotka ??
Peugeot 205 GTI S16 - Galeria
Peugeot 205 GTI GTI6 2.0 - Galeria
Megane Coupe 1.4
Obrazek
NIE PYTAJ CO KLUB MOŻE ZROBIĆ DLA CIEBIE, TYLKO CO TY MOŻESZ ZROBIĆ DLA KLUBU
zlotycbr
Junior
Posty: 288
Rejestracja: 28 lis pn, 2005 1:09 am
Posiadany PUG: JUNIOR 1,1l i Gentry i 1,9 GTI
Numer Gadu-gadu: 1301373
Lokalizacja: Stalowa Wola

Re: Oryginalne 3cie swiatlo stopu

Post autor: zlotycbr »

Spoko,mysle ze w koncu uda mi sie w tym tygodniu sfocic ja.
Niestety zbyt zabiegany jestem :(
babelo
Maniak
Posty: 1281
Rejestracja: 08 sty wt, 2008 10:23 pm
Numer Gadu-gadu: 0
Lokalizacja: Jasło

Re: Oryginalne 3cie swiatlo stopu

Post autor: babelo »

Ja mam oryginalne od saxa i jest tam też znaczek peugeota jak wrzucicie fotki to porównam czy to nie to samo ! :)
Awatar użytkownika
Roland_KrK
Junior
Posty: 163
Rejestracja: 07 paź wt, 2008 6:24 pm
Posiadany PUG: 205 Roland Garros
Numer Gadu-gadu: 3290009

Re: Oryginalne 3cie swiatlo stopu

Post autor: Roland_KrK »

Ja mam orygyginalne 3 światło stopu i nie zamierzam sie go pozbyć :D
_______________________________________________________________________________
http://peugeot205.pl/index.php?modul=uzytkownik&id=3146
Awatar użytkownika
DJPreZes
Moderator
Posty: 4593
Rejestracja: 01 sie ndz, 2004 6:40 pm
Posiadany PUG: Roland Garros/307
Numer Gadu-gadu: 2516096
Lokalizacja: Gdynia

Re: Oryginalne 3cie swiatlo stopu

Post autor: DJPreZes »

A moze ktos pochwali sie wreszcie prawdziwa fotka? ;] Moje jest wklejane na taka pianke do szyby i trzyma kosmicznie. Dzisiaj zrobie fotke temu :)
Peugeot 205 Roland Garros Cabrio
Obrazek
Awatar użytkownika
Małysz
Uzalezniony
Posty: 815
Rejestracja: 09 maja śr, 2007 11:08 pm
Posiadany PUG: 307 2.0 90HDI; dawniej 205 GT 1.6 i 1.8D
Numer Gadu-gadu: 4121955
Login tlen: adamdrozdzu
Lokalizacja: Żyrardów
Kontakt:

Re: Oryginalne 3cie swiatlo stopu

Post autor: Małysz »

No to proszę, oto fotki mojego z GT.
Wydaje mi się, że jest to oryginalne światło.
Załączniki
PICT0171.jpg
PICT0172.jpg
Awatar użytkownika
Roland_KrK
Junior
Posty: 163
Rejestracja: 07 paź wt, 2008 6:24 pm
Posiadany PUG: 205 Roland Garros
Numer Gadu-gadu: 3290009

Re: Oryginalne 3cie swiatlo stopu

Post autor: Roland_KrK »

Ja mam całkowicie inne 3 światło stopu, na pewno jest oryginalne jak będe miał czas to wrzuce fote
_______________________________________________________________________________
http://peugeot205.pl/index.php?modul=uzytkownik&id=3146
ODPOWIEDZ