Podkładki dystansowe pokrywy zaworów
- KrakerSx
 - Uzalezniony
 - Posty: 624
 - Rejestracja: 09 kwie śr, 2008 1:39 pm
 - Posiadany PUG: 205 Roland Garros 92'
 - Numer Gadu-gadu: 0
 - Lokalizacja: Lublin
 - Kontakt:
 
Podkładki dystansowe pokrywy zaworów
Witam nigdzie nie mogę dostać tych podkładek dystansowych , w aso każą czekać 3 tyg, a mój pugi już kończył by się składać gdyby nie te podkładki, czy ktoś zna ich wysokość to sobie dorobię takie.
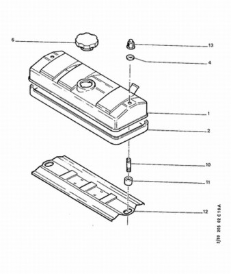
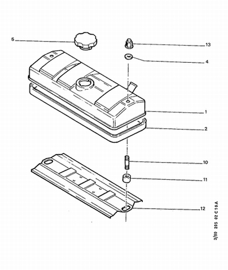
Na zdjęciu numer 11
Ps. próbowałem szukać na forum ale nie mogę znaleźć, żeby ktoś podawał wymiary tych podkładek.
			
							
			
									
						
							Na zdjęciu numer 11
Ps. próbowałem szukać na forum ale nie mogę znaleźć, żeby ktoś podawał wymiary tych podkładek.
http://www.KrakerSx.peugeot205.pl
Roland Garros 92'
			
						Roland Garros 92'
- dzikson
 - Maniak
 - Posty: 1191
 - Rejestracja: 23 sty wt, 2007 10:23 pm
 - Posiadany PUG: 205XS
 - Lokalizacja: Warszawa
 - Kontakt:
 
Re: Podkładki dystansowe pokrywy zaworów
Sorry że wejdę w słowo, ale co dają te podkładki?
Mam w zapasie oryginalną blachę z podkładkami (założę gdy kupię nową uszczelkę), do tej pory jeździłem z blachą bez uszczelek i nic nie dzwoni, nic się nie dzieje. Jakie jest ich zadanie?
			
			
									
						
										
						Mam w zapasie oryginalną blachę z podkładkami (założę gdy kupię nową uszczelkę), do tej pory jeździłem z blachą bez uszczelek i nic nie dzwoni, nic się nie dzieje. Jakie jest ich zadanie?
- KrakerSx
 - Uzalezniony
 - Posty: 624
 - Rejestracja: 09 kwie śr, 2008 1:39 pm
 - Posiadany PUG: 205 Roland Garros 92'
 - Numer Gadu-gadu: 0
 - Lokalizacja: Lublin
 - Kontakt:
 
Re: Podkładki dystansowe pokrywy zaworów
Powinny właśnie zapobiegać wibrowaniu i dzwonieniu tej że blachy. Tak mi się wydaje  
			
			
									
						
							http://www.KrakerSx.peugeot205.pl
Roland Garros 92'
			
						Roland Garros 92'
- Kamkiler
 - Maniak
 - Posty: 1279
 - Rejestracja: 29 sie pn, 2005 8:05 pm
 - Posiadany PUG: 205 TCTi
 - Numer Gadu-gadu: 3470719
 - Lokalizacja: Łomianki
 
Re: Podkładki dystansowe pokrywy zaworów
blacha ma za zadanie m.in .zapobieganie rozbryzgawaniu sie oleju po całym deklu i tym samym dostaniu sie go w znacznej ilości do odmy.podkładki dystansują blache od pokrywy
			
			
									
						
							Czeka nas jeszcze duzo pracy http://www.kamkiler.205.pl
			
						- Orfister
 - Moderator
 - Posty: 5717
 - Rejestracja: 06 wrz śr, 2006 8:36 am
 - Posiadany PUG: Peugeot 205 CTI
 - Numer Gadu-gadu: 2690638
 - Lokalizacja: Gostynin
 - Kontakt:
 
Re: Podkładki dystansowe pokrywy zaworów
Dokładnie tak jak mówi Kamil...
A podkładki dwie taki nowe mam jak co ..
			
			
									
						
										
						A podkładki dwie taki nowe mam jak co ..
- Kamkiler
 - Maniak
 - Posty: 1279
 - Rejestracja: 29 sie pn, 2005 8:05 pm
 - Posiadany PUG: 205 TCTi
 - Numer Gadu-gadu: 3470719
 - Lokalizacja: Łomianki
 
Re: Podkładki dystansowe pokrywy zaworów
ile za nie chcesz bo pekły w 306 i musze predzej czy pozniej to zrobic...
			
			
									
						
							Czeka nas jeszcze duzo pracy http://www.kamkiler.205.pl
			
						- Orfister
 - Moderator
 - Posty: 5717
 - Rejestracja: 06 wrz śr, 2006 8:36 am
 - Posiadany PUG: Peugeot 205 CTI
 - Numer Gadu-gadu: 2690638
 - Lokalizacja: Gostynin
 - Kontakt:
 
Re: Podkładki dystansowe pokrywy zaworów
Sprawdź wpierw wysokość tych dystansów, bo te które posiadam są metalowe i okrągłe, ( tulejki  ) - prawdopodobnie pochodzą z nowszego typu silnika TU
			
			
									
						
										
						- KrakerSx
 - Uzalezniony
 - Posty: 624
 - Rejestracja: 09 kwie śr, 2008 1:39 pm
 - Posiadany PUG: 205 Roland Garros 92'
 - Numer Gadu-gadu: 0
 - Lokalizacja: Lublin
 - Kontakt:
 
Re: Podkładki dystansowe pokrywy zaworów
Orfi to czekam na te wymiary, najważniejsza wysokość  
			
			
									
						
							http://www.KrakerSx.peugeot205.pl
Roland Garros 92'
			
						Roland Garros 92'