Pomóżcie chłopaki -TRASA PRZEBIEGU PRZEWODU HAMULCOWEGO
- arti
 - Junior
 - Posty: 119
 - Rejestracja: 17 paź śr, 2007 11:44 am
 - Numer Gadu-gadu: 8196186
 - Login tlen: kapela_avanti
 - Lokalizacja: Człuchów/pomorskie
 
Pomóżcie chłopaki -TRASA PRZEBIEGU PRZEWODU HAMULCOWEGO
Stanąłem przed tematem wymiany prawego przewodu hamulcowego sztywnego do tylnego koła od strony pasażera. Ponieważ jednak z tego co widzę ktoś już kombinował z tym przewodem i połozył go jakoś dziwną trasą upychając w miejscach narażonych na przetarcie -co sie właśnie stało- chciałbym wymienić przewód i położyć go tak jak to powinno być fabrycznie. Pug '91 Look 1124 3D.
Czy ktoś z was miałby chęć i pstryknął jakąs fotkę z dołu jak to powinno leciec?
			
			
									
						
										
						Czy ktoś z was miałby chęć i pstryknął jakąs fotkę z dołu jak to powinno leciec?
- Orfister
 - Moderator
 - Posty: 5717
 - Rejestracja: 06 wrz śr, 2006 8:36 am
 - Posiadany PUG: Peugeot 205 CTI
 - Numer Gadu-gadu: 2690638
 - Lokalizacja: Gostynin
 - Kontakt:
 
Re: Pomóżcie chłopaki -TRASA PRZEBIEGU PRZEWODU HAMULCOWEGO
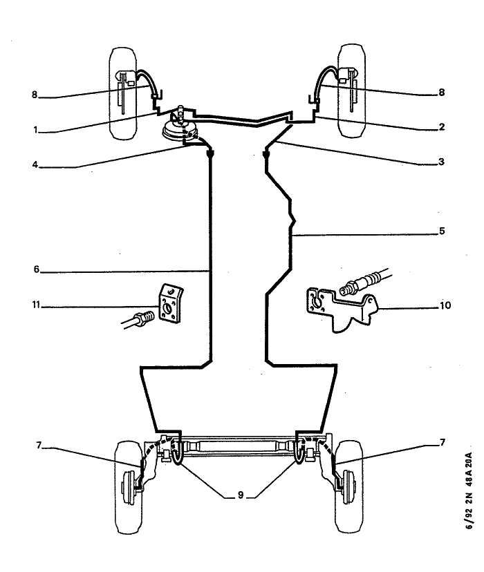
może to coś pomoże..
			
							
			
									
						
										
						- arti
 - Junior
 - Posty: 119
 - Rejestracja: 17 paź śr, 2007 11:44 am
 - Numer Gadu-gadu: 8196186
 - Login tlen: kapela_avanti
 - Lokalizacja: Człuchów/pomorskie
 
Re: Pomóżcie chłopaki -TRASA PRZEBIEGU PRZEWODU HAMULCOWEGO
dzięki Orf, ale myślałem raczej o fotce z natury i tylko tego fragmentu w pobliżu tylnego koła gdzie jest połączenie giętkiego ze sztywnym i w stronę przodu...może ktoś będzie miał chęć pomóc, w tej chwili mam tak poprowadzone, że diagnosta na badaniu cmokał zadziwiony i wspominał że może sie przewód uszkodzić....I KURNA co? wykrakał!! 
			
			
									
						
										
						- Picazzo
 - Junior
 - Posty: 317
 - Rejestracja: 27 lis wt, 2007 9:47 pm
 - Posiadany PUG: Peugeot 205 CJ 1.4 bialy, 205 1.6 GTI srebrny, 205 1.9 GTI czarny na czesci:D
 - Numer Gadu-gadu: 4884775
 - Lokalizacja: Wrocław
 - Kontakt:
 
Re: Pomóżcie chłopaki -TRASA PRZEBIEGU PRZEWODU HAMULCOWEGO
zaraz bede demontowal belke z mojego rozbitka to wstawie Ci foto:)
			
			
									
						
							Zbieram na piwo i paliwo...
http://www.picazzo.205.pl/
			
						http://www.picazzo.205.pl/
- arti
 - Junior
 - Posty: 119
 - Rejestracja: 17 paź śr, 2007 11:44 am
 - Numer Gadu-gadu: 8196186
 - Login tlen: kapela_avanti
 - Lokalizacja: Człuchów/pomorskie
 
Re: Pomóżcie chłopaki -TRASA PRZEBIEGU PRZEWODU HAMULCOWEGO
czekam i przebieram nogami 
 
			
			
									
						
										
						- Picazzo
 - Junior
 - Posty: 317
 - Rejestracja: 27 lis wt, 2007 9:47 pm
 - Posiadany PUG: Peugeot 205 CJ 1.4 bialy, 205 1.6 GTI srebrny, 205 1.9 GTI czarny na czesci:D
 - Numer Gadu-gadu: 4884775
 - Lokalizacja: Wrocław
 - Kontakt:
 
Re: Pomóżcie chłopaki -TRASA PRZEBIEGU PRZEWODU HAMULCOWEGO
sorki za jakosc foto... telefon... nie dalem rady lepszych...
			
							
			
									
						
							Zbieram na piwo i paliwo...
http://www.picazzo.205.pl/
			
						http://www.picazzo.205.pl/
- Picazzo
 - Junior
 - Posty: 317
 - Rejestracja: 27 lis wt, 2007 9:47 pm
 - Posiadany PUG: Peugeot 205 CJ 1.4 bialy, 205 1.6 GTI srebrny, 205 1.9 GTI czarny na czesci:D
 - Numer Gadu-gadu: 4884775
 - Lokalizacja: Wrocław
 - Kontakt:
 
Re: Pomóżcie chłopaki -TRASA PRZEBIEGU PRZEWODU HAMULCOWEGO
sorki za dubel zdjecia
opisz mi dokladniej jakiego fragmenty portzebujesz to zrobir Ci jutro dokladniejsze
			
							
			
									
						
							opisz mi dokladniej jakiego fragmenty portzebujesz to zrobir Ci jutro dokladniejsze
Zbieram na piwo i paliwo...
http://www.picazzo.205.pl/
			
						http://www.picazzo.205.pl/
- arti
 - Junior
 - Posty: 119
 - Rejestracja: 17 paź śr, 2007 11:44 am
 - Numer Gadu-gadu: 8196186
 - Login tlen: kapela_avanti
 - Lokalizacja: Człuchów/pomorskie
 
Re: Pomóżcie chłopaki -TRASA PRZEBIEGU PRZEWODU HAMULCOWEGO
Dzięki za pomoc kolego, juz temat opanowany. Nie dało sie bez wymiany całości, a trase znalazłem sam po tych plastikowych zatrzaskach -uchwytach na przewód hamulcowy. Ktoś zrobił metodą kowalską i nastąpiło przetarcie o blachę . Pozdrawiam